» motorkontrollleuchte seit gestern an; nach der Reperatur,S.4

Wer hat Bock bei Motorblockwechsel zu helfen ????Neuen Thread eröffnenNeue Antwort erstellenRostschutz/Konservieren
<12
4>
AutorNachricht
Gesperrt 
Anmeldedatum: 30.09.2008
Beiträge: 14034
14.02.2011, 13:24
zitieren

ich hätt hier noch ne lambda liegen, hab ich vor kurzen hier gebraucht gekauft. bei interesse, schreib ne pn ;)

pn
Administrator 

Name: Marc
Geschlecht:
Anmeldedatum: 28.08.2004
Beiträge: 52434
Wohnort: Lohmar


Meine eBay-Auktionen:
14.02.2011, 13:34
zitieren

KingKobraja wie nur die lambda? "nur" die lambda soll 350 tacken mit einbau kosten. wenn´s garnicht an der lambda liegt, lass ich doch besser erst mal den sensor wechseln.

Kann ja keiner was dafür, dass Du wieder zu der Apotheke rennst :P

Such Dir irgendwo eine Hinterhofwerkstatt, bring die Lambda und Dichtungen mit und frag was der Einbau kosten kann. Ich schätze mal 100,- EUR Arbeitszeit. Die Teile dann eben so viel wie sie Dich kosten.

Da Du Deinen Wagen eh tunst, würde es sich jetzt anbieten einen Edelstahlkrümmer zu kaufen. Dann müsste man nicht mal kompliziert die alte Lambda rausholen.

Mal davon abgesehen spricht dann auch nichts mehr dagegen, dass Du das selber machst. Schwer ist nämlich nur die alte Lambda rausholen. Den Krümmer aus- und einbauen ist dagegen kein Akt.


pn email
Gesperrt 
Anmeldedatum: 01.10.2010
Beiträge: 99
14.02.2011, 13:36
zitieren

du würdest also nicht erst mal diesen dubiosen schalter erneuern?

pn
Administrator 

Name: Marc
Geschlecht:
Anmeldedatum: 28.08.2004
Beiträge: 52434
Wohnort: Lohmar


Meine eBay-Auktionen:
14.02.2011, 13:43
zitieren

Nach Werkstattprinzip würde ich natürlich immer erst das Billigste machen. Aber bei den genannten 16,- EUR wird es halt auch nicht bleiben, wenn es die Werkstatt macht. Dann wird es nach Apothekenstandard auch wieder irgendwas mit 100,- EUR.

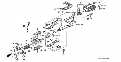
Hier die Dichtungen die Du brauchst, falls Du die Lambda wechseln lässt. Von Bild 1 die 3 und von Bild 2 die 17. Die Lambda ist die 6 auf Bild 1.


 
E__0400.jpg
E__0400.jpg - [Bild vergrößern]


 
B__0200.jpg
B__0200.jpg - [Bild vergrößern]


pn email
Premium-Member 
Name: Daniel
Geschlecht:
Fahrzeug: MC2
Anmeldedatum: 23.12.2006
Beiträge: 15532
Wohnort: Mühldorf a. Inn
14.02.2011, 13:55
zitieren

Um die Lamdasonde zu wechseln muss doch der Krümmer nicht ausgebaut werden?

pn
Administrator 

Name: Marc
Geschlecht:
Anmeldedatum: 28.08.2004
Beiträge: 52434
Wohnort: Lohmar


Meine eBay-Auktionen:
14.02.2011, 13:57
zitieren

Öh wo Du Recht hast ^^

Obwohl ich die Bilder gesehen habe, habe ich jetzt nur an die Fächerkrümmer gedacht, die die Lambda ja unten an der schlecht zu erreichenden Stelle haben. :wall:

Klar. Man kann die natürlich auch so wechseln. Dann ists natürlich noch einfacher, also auch für die Werkstatt.

Hitzeschutzdeckel ab und los gehts. Vielleicht sogar direkt nachdem man eine Runde gefahren ist und alles noch schön warm ist.


 1x  bearbeitet
pn email
Gesperrt 
Anmeldedatum: 01.10.2010
Beiträge: 99
14.02.2011, 13:58
zitieren

habe doch noch die dichtungen von meiner lambda bzw. der die ich hier gebraucht kaufe, oder muss ich neue kaufen?

pn
Gesperrt 
Anmeldedatum: 30.09.2008
Beiträge: 14034
14.02.2011, 14:24
zitieren

nein, er meinte die dichtung von krümmer zum kopf.
brauchst du aber nicht, da du den krümmer nicht abnimmst.


pn
Gesperrt 
Anmeldedatum: 01.10.2010
Beiträge: 99
15.02.2011, 10:40
zitieren

ok, dann lass ich die lambda sonde wechseln.


mal noch ne frage, honda meinte, wenn die die lambda einbauen würden sie mir auch beide fehlercodes löschen ( motorkontrolleuchte + srs ) - srs leuchtet seit ca nem halbem jahr. honda meinte das würde auch mit der lambda zusammenhängen und diesen fehlercode würden sie mir dann gleich mit löschen.


können andere werkstetten, die dieses obd kabel nicht haben und somit auch nicht den fehlercode auslesen konnten ( weshalb ich ja zur "apotheke" musste ) , mir denn auch den fehler den überhaupt löschen oder muss ich dafür wieder zu honda?


pn
Senior 

Name: Sebastian
Geschlecht:
Fahrzeug: CRX del Sol 1992
Anmeldedatum: 01.07.2009
Beiträge: 337
Wohnort: Bottrop
15.02.2011, 10:45
zitieren

Kannst nach dem wechsel der Lambda einfach die Backup Sicherung im Motorraum für ne halbe Minute ziehen.

Danach ist der Fehlerspeciher auch gelöscht.

Seb


pn
Gast 
02.03.2011, 15:58
zitieren

Mach mit!

Wenn Dir die Beiträge zum Thread "motorkontrollleuchte seit gestern an; nach der Reperatur,S.4" gefallen haben oder Du noch Fragen hast oder Ergänzungen machen möchtest, solltest Du Dich gleich bei uns anmelden:



Registrierte Mitglieder genießen die folgenden Vorteile:
✔ kostenlose Mitgliedschaft
keine Werbung
✔ direkter Austausch mit Gleichgesinnten
✔ neue Fragen stellen oder Diskussionen starten
✔ schnelle Hilfe bei Problemen
✔ Bilder und Videos hochladen
✔ und vieles mehr...


Neuen Thread eröffnenNeue Antwort erstellen
<12
4>
Ähnliche BeiträgeRe:
Letzter Beitrag
Catback seit gestern an meinem ED9
Sooooo, habe seit gestern meine neue Edelstahl Catback anlage drunter! Bekommen von den Franks aus Bottrop (targafreak), auf der Weise möchte ich ebenfalls Werbung für sie machen, haben echt gute Arbeit geleistet (nich so wie so manch anderer lol ) und...
Seite 2, 3 [CRX]von Merlin86
26
1.686
25.04.2007, 11:04
Merlin86
 Seit gestern EP1 - einige Fragen :)
Moin, ich bin seit gestern stolzer Besitzer eines EP1 BJ 01 - dank der momentanen Gebrauchtwagenlage nach der Abwrackprämie hab ich wohl zwar etwas zu viel auf den Tisch gelegt, aber es musste halt jetzt ein Auto her ;) Hab vorher 3 Jahre in...
Seite 2, 3, 4, 5, 6 [Civic 01-05]von jizzl
54
3.590
11.03.2010, 10:38
jizzl
 Seit gestern im FR-V unterwegs und mal gleich ein paar Fragen
Moin Forum, habe gestern meinen FR-V Executive 150PS LPG abgeholt, das Raumkonzept und das man sehr wenig an groben Fehler im Inet findet haben mich zum Honda geführt, ist auch mein erster Japaner, ich hoffe auf eine schöne sorgenfreie Zeit :yes: Bei der...
Seite 2 [FR-V]von HamburchFRV
10
602
28.04.2015, 06:18
HamburchFRV
 hallo seit gestern bin ich stolzer besitzer eines crx as
Hallo an alle bin neu hier und bin seit gestern ein crx as besizter habe in den 90 er jahren schon mal welche gehbat und mir gestern wieder einen zugelegt leider mit etwas arbeit drann radläufe wurden zwar mal gemacht aber schlecht gespachtelt suche...
Seite 2 [CRX]von madnesscrxas
13
611
06.09.2010, 21:18
Amroth
Hallo Alle! bin seit gestern stolzer besitzer eines CTR :)
Habe gestern vertrag unterschrieben und am freitag holle es ab! nun meine frage nebenbei :) wo sind die kabel für die blinkeransteuerung??? und die ZV? will das blinkermodul von meinen alten karren in den civic bauen, ist ne universal! kann mir...
[Type-R]von Marcos123
4
1.010
01.05.2007, 17:14
CTR Shadow
 Seit gestern stolzer Besitzer eines EE8 hat die ersten Fragen
Bin neu hier im Forum und Hallo an alle, hab schon länger mitgelesen doch nun wurds Zeit zum anmelden :yes: Habe nach längerer Suche endlich nen EE8 gefunden an dem natürlich einiges gemacht werden muss. Im Frühling möchte ich ihn neu lacken im original...
Seite 2, 3, 4, 5, 6 [CRX]von Bimmler
55
2.302
18.01.2014, 09:29
Andreas2407
CRX NACH REPERATUR POWER VERLUST???
So da bin ich...alos meinem crx war ja zahnriemen und zündverteiler am arsch..........und is deswegen nicht mehr angesprungen. so die sachne wurden ja jetzt erneuert und ich konnte meinen wagen gestern abholn und bin nachhause gefahren......schon schnell...
Seite 2 [CRX]von Gold-Viper
16
1.331
21.02.2007, 15:08
honda ca
Probleme mit Honda nach Unfall reperatur!
Hallöchen Leute Brauch kurz Hilfe. Mir is vor etwa 4 wochen aufn Parplatz einer in meinen geparkten Accord gefahren (willkommen im Club Sven). Hiermit auch danke an den Passanten der den Fahrer festgehalten hat. Nach dem Anruf bei der Polizei...
Seite 2 [Accord 02-08]von thomasee8
14
1.160
14.12.2007, 12:28
felline
Motorkontrollleuchte nach Öl Wechsel ?
Hey Leute, also ich habe mir vor 2 Wochen nen Öl Wechsel machen lassen. Da das eigentlich keine große Aufgabe für eine Werkstatt ist und ich im Moment nicht das große Geld habe, habe ich den Fehler gemacht zu A.T.U. zu gehen und mir einen für 30 Euro...
Seite 2, 3 [Del Sol]von NORMiNATOR
25
8.688
05.11.2011, 17:00
1HGEJ2
Motorkontrollleuchte nach WFS, ECU und Transpondertausch
Hi Leute :) Mein Name ist Farin und ich lese schon seit einem guten halben Jahr immer mal wieder hier für meinen EJ9 1.4 preface mit. Habe auch schon einige Sachen, als Laie ganz gut hinbekommen nur hab ich jetzt folgendes. Habe vor 2-3 Wochen meinen...
Seite 2 [Civic 96-00]von fitamin.f
10
456
13.04.2021, 14:18
fitamin.f
© 2004 - 2025 www.maxrev.de | Communities | Impressum |