Forum
»
Picture Collection
»
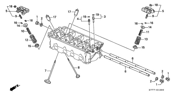
Haltekeil Ventilfeder B16/B18 Bild - E 1200
E 1200.jpg
Forum-Code:
[url=http://www.maxrev.de/e-1200-bild-430991.htm][img]http://www.maxrev.de/files/2015/03/thumbs/t_e_1200_1425867024.jpg[/img][/url]
Details:
Author:
Bomberpilot
Posted:
09.03.2015, 02:10
Description:
Filesize:
38,97 KB
Viewed:
24 time(s)
Comment this Picture:
Haltekeil Ventilfeder B16/B18
1 Antworten
© 2004 - 2026 www.maxrev.de (dd482) |
Communities
|
Impressum