» Haltekeil Ventilfeder B16/B18

oem ek9 grill vom flNeuen Thread eröffnenDieser Thread ist gesperrt, du kannst keine Beiträge editieren oder beantworten.Suche Integra DC2 Scheinwerfer rechts (Beifahrerseite)
AutorNachricht
Premium-Member 

Name: Markus
Geschlecht:
Fahrzeug: Eg ;)
Anmeldedatum: 26.08.2007
Beiträge: 7089
Wohnort: Kassel
09.03.2015, 02:10
zitieren

Hi,

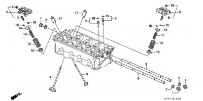
suche einen Haltekeil von den Ventilfedern .
Ist mir heute leider einer weg gekommen.

Auf dem Bild ist es die Position 16

Danke!


 
E__1200.jpg
E__1200.jpg - [Bild vergrößern]


pn
General 

Name: Steve
Geschlecht:
Fahrzeug: EE8 EG6 DC2
Anmeldedatum: 18.09.2004
Beiträge: 2984
Wohnort: Meiningen
09.03.2015, 05:07
zitieren

hab ich da, neu OEM verpackt :)

pn
Gast 
09.03.2015, 05:07
zitieren

Mach mit!

Wenn Dir die Beiträge zum Thread "Haltekeil Ventilfeder B16/B18" gefallen haben oder Du noch Fragen hast oder Ergänzungen machen möchtest, solltest Du Dich gleich bei uns anmelden:



Registrierte Mitglieder genießen die folgenden Vorteile:
✔ kostenlose Mitgliedschaft
keine Werbung
✔ direkter Austausch mit Gleichgesinnten
✔ neue Fragen stellen oder Diskussionen starten
✔ schnelle Hilfe bei Problemen
✔ Bilder und Videos hochladen
✔ und vieles mehr...


Neuen Thread eröffnenDieser Thread ist gesperrt, du kannst keine Beiträge editieren oder beantworten.
Ähnliche BeiträgeRe:
Letzter Beitrag
 B Serie Ventilfeder Zuordnung
Ich habe einen verkrüppelt aufgebauten B18C4 mit PR3-3 Zylinderkopf gekauft. Die Ventilfedern waren bunt gemischt verbaut. Es fanden sich zwei Sorten äußere Federn mit ~3,5 und ~3,7 mm Drahtstärke und acht innere Federn mit 2,3 mm Drahtstärke. Die...
[Performance]von atze
0
163
06.10.2013, 10:05
atze
© 2004 - 2026 www.maxrev.de | Communities | Impressum |