» Sammelbestellung Energy Suspension, die dritte!

Verkaufe neue unbenutzte JDM Nebler in gelb für EG/EJNeuen Thread eröffnenDieser Thread ist gesperrt, du kannst keine Beiträge editieren oder beantworten.Biete D16Z6 Krümmer-Hosenrohrdichtung
<12389
1112171819>
AutorNachricht
Premium-Member 

Name: Woll-E
Geschlecht:
Fahrzeug: EH6
Anmeldedatum: 03.05.2009
Beiträge: 21228
Wohnort: Köln
18.11.2010, 23:59
zitieren

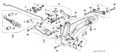
Kannst du eben die Grafik dafür hochladen? ^^ Dann kann ichs dir sagen. Aber ich glaube, da ist alles bei.

pn
Trainee 
Fahrzeug: CRX ED9 Bj. 1991
Anmeldedatum: 12.11.2010
Beiträge: 28
19.11.2010, 00:05
zitieren

Hallo Wolfree,

das ging ja schnell. Ich versuchs mal mit der Grafik (als Dateianhang)...

Die Nummern siehst Du in meinem ersten Beitrag...


 
Hinterachse.JPG
Hinterachse.JPG - [Bild vergrößern]


pn
Premium-Member 

Name: Woll-E
Geschlecht:
Fahrzeug: EH6
Anmeldedatum: 03.05.2009
Beiträge: 21228
Wohnort: Köln
19.11.2010, 00:09
zitieren

Laut Text und laut meinem Set ist es mit drin. Aber aus dem Fenster lehnen will ich mich nicht.

Beschreibung ES:

1988-91 Civic & CRX 16.18102
Front and rear control arm bushings, front strut rod bushings, front shock bushings, rear shock bushings (89-91 only), front end links, steering
rack bushings, transmission shifter stabilizer bushings (manual transmission only), ball joint and tie rod end boots.


pn
Trainee 
Fahrzeug: CRX ED9 Bj. 1991
Anmeldedatum: 12.11.2010
Beiträge: 28
19.11.2010, 00:24
zitieren

Also wenn es laut Deinem Set drin ist, warum willst Du dich nicht aus dem Fenster lehnen?

Die Anleitungen, die man bei ES runter laden kann, zeigen leider nur den unteren Querlenker von der Hinterachse.

Ich will halt nur sicher gehen und hoffe Du verstehst das.

Grüße


pn
Premium-Member 

Name: Woll-E
Geschlecht:
Fahrzeug: EH6
Anmeldedatum: 03.05.2009
Beiträge: 21228
Wohnort: Köln
19.11.2010, 00:26
zitieren

Jop, wenn du die Sets einzeln kaufst, steht auch extra dabei lower control arm only - dieser Verweis ist beim Masterkit nicht. Ich hab Teile meines Sets verkauft, weil ich gesehen habe, dass einige Buchsen von mir noch sehr gut sind. Daher wollte ich die nicht ersetzen. Ich weiß nicht genau, was bei den abgegebenen Teilen dabei war - hab praktisch nur die Querlenker behalten.

pn
Trainee 
Fahrzeug: CRX ED9 Bj. 1991
Anmeldedatum: 12.11.2010
Beiträge: 28
19.11.2010, 00:41
zitieren

Hallo Wolfree,

habe noch mal bei ES nachgesehen...

Da gibt es auf der Seite zum CRX genau Buchsen die ich suche...

Rear upper control arm bushings (Teilenummer 8307)
Rear compensator arm bushings (Teilenummer 8309)

Die Buchse für den Stabilisator habe ich nicht entseckt.

Allerdings steht da ein anderer Hersteller dabei.

Kannst Du diese Buchsen auch bestellen?


pn
Premium-Member 

Name: Woll-E
Geschlecht:
Fahrzeug: EH6
Anmeldedatum: 03.05.2009
Beiträge: 21228
Wohnort: Köln
19.11.2010, 00:45
zitieren

Das sind die Prothanebuchsen, da muss ich nachfragen. Weiß nicht, ob mein Händler die bekommt.

pn
Trainee 
Fahrzeug: CRX ED9 Bj. 1991
Anmeldedatum: 12.11.2010
Beiträge: 28
19.11.2010, 00:55
zitieren

Hallo Wolfree,

ich habe jetzt noch mal eine Anfrage bei ES gemacht. Wenn Du nicht gleich morgen bestellst, würde ich mich bei positiver Auskunft noch mal hier mleden.

Wäre das OK?


pn
Premium-Member 

Name: Woll-E
Geschlecht:
Fahrzeug: EH6
Anmeldedatum: 03.05.2009
Beiträge: 21228
Wohnort: Köln
19.11.2010, 10:45
zitieren

Na klar. ;)

pn
Trainee 
Fahrzeug: CRX ED9 Bj. 1991
Anmeldedatum: 12.11.2010
Beiträge: 28
19.11.2010, 22:46
zitieren

Hallo Wolfree,

habe heute Abend Antwort von ES bekommen. Leider sind genau die Buchsen, die ich eigentlich brauche, nicht im Masterkit enthalten.

Ich zitiere:
The rear upper control arm bushings and compensator arm bushings are not included.

There are several parts you can add to that kit. You can find them here:
http://www.energysuspensionparts.com/suggestedparts.asp?prod=16.18102

Und damit bin ich wieder am Anfang meiner Suche. Unter der genannten Adresse finde ich dann die Teile, die ich brauche (hatte ich bereits weiter oben erwähnt):

Rear upper control arm bushings (Teilenummer 8307)
Rear compensator arm bushings (Teilenummer 8309)

Es wäre super, wenn Du mal nachfragen könntest, ob Du diese Buchsen bekommst und was die kosten.

Ich danke Dir schon mal im Voraus für Deine Hilfe.

Grüße kaflar


pn
Gast 
13.05.2011, 20:54
zitieren

Mach mit!

Wenn Dir die Beiträge zum Thread "Sammelbestellung Energy Suspension, die dritte!" gefallen haben oder Du noch Fragen hast oder Ergänzungen machen möchtest, solltest Du Dich gleich bei uns anmelden:



Registrierte Mitglieder genießen die folgenden Vorteile:
✔ kostenlose Mitgliedschaft
keine Werbung
✔ direkter Austausch mit Gleichgesinnten
✔ neue Fragen stellen oder Diskussionen starten
✔ schnelle Hilfe bei Problemen
✔ Bilder und Videos hochladen
✔ und vieles mehr...


Neuen Thread eröffnenDieser Thread ist gesperrt, du kannst keine Beiträge editieren oder beantworten.
<12389
1112171819>
Ähnliche BeiträgeRe:
Letzter Beitrag
Energy Suspension für EE8/EE9
Hatte ich für jemand anders geschrieben aber ich denke das hilft so einigen weiter. Bestellen kann man direkt hier und billiger gehts nicht. Ausser vielleicht bei der Sammelbestellung von Wolfree www.energysuspensionparts.com Hier mal die Liste...
[CRX]von CRXEDDIE
6
708
14.11.2011, 12:15
CRXEDDIE
 Energy Suspension
Hallo Leute, ich habe mir das Masterset besorgt, soweit so gut, ist ja ein nettes Pussel. Frage: hat jemand eine Liste wo welche Buchse hingehört? Auf den "Gummis" sind ja Nummern eingeprägt, zb. 3285, schön.... Aber wo gehört es hin?? Die...
[Del Sol]von Lars Wei
5
298
11.04.2021, 10:39
Lars Wei
Energy Suspension Kit für EJ1
Hallo, ich möchte, soweit möglich, ALLE meine Fahrwerksbuchsen gegen SCHWARZE ES Buchsen austauschen, damit der TÜV nichts wegen der roten Buchsen zu meckern hat. Nun lese ich öfter, dass die Kits nicht komplett sind und man für alle Fahrwerksteile...
Seite 2 [Civic 92-95]von coupe-fahrer
15
617
03.08.2020, 12:27
keyn
Energy Suspension für itr
hallo steht ja oben wer hat erfahrung mit wo bekomm ich die besten was ist alles dabei :D :D ...
[Integra]von ITR1146
7
296
24.08.2011, 17:07
ITR1146
 Energy Suspension für den EE8!!!
Also nach langem Suchen und Recherchieren (auch im ES Katalog) ist es nicht eindeutig welche Teilenummern man braucht um den EE8 KOMPLETT mit Polyurethan Buchsen zu versehen. Soweit ich weiss gibt es z.B die Oberen Querlenkerbuchsen Vorne NICHT von ES...
Seite 2, 3 [CRX]von CRXEDDIE
28
2.083
17.08.2010, 14:52
Maiki 007
Energy Suspension
Muss man beim Ej1 alle Buchsen komplett entfernen oder bleiben teilweise die Lagerhülsen drinne? Und wie habt ihr die Buchsen...
[Civic 92-95]von der_don
3
302
08.07.2013, 20:33
Michga
Energy Suspension Kit Prelude
Hey Leute habe ne Frage bezüglich dem Energy Suspension Kit für den Prelude. hats scho jemand verbaut? ohne Spezialwerkzeug möglich oder nicht? habs noch nie ein- bzw ausbaut deshalb frage ich. wär super wenn sich jemand...
[Prelude]von keve112
2
240
20.12.2013, 20:00
keve112
Energy Suspension Frage
Hey, ich habe für meinen EG9 schon alle Buchsen von ES zu hause liegen. Nun frag ich mich ob ich zum Beispiel an den vorderen, unteren Querlenkern nur das Gummi entfernen muss oder gleich diesen Metallring, welcher um das Gummi ist mit auspressen...
[Performance]von Hado
5
415
01.10.2011, 22:17
Hado
Energy Suspension Fett
Hey haben Problem und zwar suche ich das fett von ES. Habe bei ebay geschaut aber nich wirklich was gefunden da die Versandkosten bei ca 20&euro; betragen... ich brauch nur 2 tütchen. Wisst ihr wo ich das sonst bestellen kann ohne mirn Bein...
[Allgemein]von serioussam
1
282
01.11.2013, 12:58
Lightning
Energy Suspension eintragen
Muss man die Energy Suspension pu rot eintragen...
[Civic 92-95]von mostwanted
8
804
14.05.2013, 06:35
fago88
© 2004 - 2025 www.maxrev.de | Communities | Impressum |