» E-Spiegel sind heil!!

Malt meinen Honda aus! :DNeuen Thread eröffnenNeue Antwort erstellenSuche Radlauf für EJ2.welche Internetseite???
<1
AutorNachricht
Veteran 

Name: Felix
Geschlecht:
Fahrzeug: Suche Eg4/5/6, CRX Del Sol EH6!!!!!!
Anmeldedatum: 06.08.2007
Beiträge: 664
Wohnort: Hamburg
09.07.2008, 17:19
zitieren

ja okay das mit oben-rechts etc is mir auch eigentlich egal.
Die spiegel gehen nach links, rechts, oben, unten wenn ich die kabel direkt mit masse und + ansteuer.
Aber ich weiß nicht hab nach dem kabelbaum alles angeschlossen und es will einfach nicht...

mfg


pn
Junior 

Name: Lars
Geschlecht:
Fahrzeug: Civic EG4
Anmeldedatum: 23.04.2008
Beiträge: 94
Wohnort: bei Dortmund
09.07.2008, 18:04
zitieren

bist du dir denn sicher das auch der Schalter richtig funtioniert? das ist ja dann noch das einzige Teil das bleibt.

pn
Gesperrt 
Anmeldedatum: 29.11.2004
Beiträge: 19440
09.07.2008, 19:05
zitieren

...

 Fahrerseite

k-DSC00980.JPG
k-DSC00980.JPG - [Bild vergrößern]


 Schalter

k-DSC00981.JPG
k-DSC00981.JPG - [Bild vergrößern]


 Beifahrerseite

k-DSC00982.JPG
k-DSC00982.JPG - [Bild vergrößern]


pn
Elite 

Geschlecht:
Fahrzeug: ex eg4 b16a2 fahrer umstieg auf MK4:) !
Anmeldedatum: 10.01.2008
Beiträge: 1070
Wohnort: Mengen
10.07.2008, 16:35
zitieren

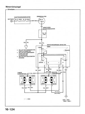
Sorry muss dich enttäuschen denn die schaltpläne für den se spiegel sind
nicht so leicht zu besorgen.
aber es erklärt sich einfach!
oben kommen ja die 2 kabel zusammen.
dort liegt z.b + an.
jetzt schaltest du die masse an dem jeweiligen motor durch.
bei der entgegengesetzter richtung wird an die beiden motoren seperat ein + angelegt
und dort wo sie
verbunden sind ist masse vorhanden.
ist sehr kompliziert aufgebaut der schalter.
am besten du prüfst die motoren indem du sie einzeln ansteuerst! ;)
wenn es dann ok ist dann liegts am schalter.
ach und noch was hab hier was gefunden ist aber vom crx!
mal besser wie nichts! :yes:


 
E spiegel honda crx 1.jpg
E spiegel honda crx 1.jpg - [Bild vergrößern]


 
E spiegel crx 2.jpg
E spiegel crx 2.jpg - [Bild vergrößern]


pn
Veteran 

Name: Felix
Geschlecht:
Fahrzeug: Suche Eg4/5/6, CRX Del Sol EH6!!!!!!
Anmeldedatum: 06.08.2007
Beiträge: 664
Wohnort: Hamburg
12.07.2008, 16:33
zitieren

So hab mir nochmal alles angeschaut. Ich habe soweit alles getan, was die Schaltpläne von mir abverlangen... Ohne jeglichen Erfolg.

Allerdings kann der Stecker auch nicht Kaputt sein, da wenn ich alle Kabel verbinde, die Spiegel auf beiden Seiten nach Oben steuerbar sind. Oder kann er doch defekt sein?

Ich habe am Schalter auch 2 Kabel dran mit selber Farbe (Schwarz/Gelb). Müssen die vllt besonders verbudnen werden? Ich verzweifel langsam. Alles probiert, nix geht :-(

mfg


pn
Junior 

Name: Lars
Geschlecht:
Fahrzeug: Civic EG4
Anmeldedatum: 23.04.2008
Beiträge: 94
Wohnort: bei Dortmund
12.07.2008, 19:10
zitieren

Schade das es noch nicht funktioniert....
Hast du zufällig ein Multimeter bei dir zur Verfügung? Dann könnte ich dir mal nen Plan schreiben wie du den Schalter testen kannst ;-)


pn
Veteran 

Name: Felix
Geschlecht:
Fahrzeug: Suche Eg4/5/6, CRX Del Sol EH6!!!!!!
Anmeldedatum: 06.08.2007
Beiträge: 664
Wohnort: Hamburg
12.07.2008, 20:50
zitieren

Mit nem Multimeter hab ich auch schon versucht. Werde mich wohl nen neuen Schalter besorgen um mal zu schauen ob es am Schalter liegt.
Jemand in HH und Umgebung da, der noch einen hat?

mfg


pn
Junior 

Name: Lars
Geschlecht:
Fahrzeug: Civic EG4
Anmeldedatum: 23.04.2008
Beiträge: 94
Wohnort: bei Dortmund
12.07.2008, 21:46
zitieren

also brauchst du keine "prüfanweisung"? ....
ansonsten sag nochmal bescheid, werde dir dann eine schreiben :yes: :)


pn
Veteran 

Name: Felix
Geschlecht:
Fahrzeug: Suche Eg4/5/6, CRX Del Sol EH6!!!!!!
Anmeldedatum: 06.08.2007
Beiträge: 664
Wohnort: Hamburg
15.07.2008, 12:46
zitieren

War eben bei Kiesow Winken
Da standen ein paar schöne Honda noch rum. Der allerletze den es noch gab, in den ich nicht reingeschaut habe, gab es den Schalter. Habe ihn ausgebaut, bei mir angeschlossen. Und siehe da. Es funktioniert =)
Preis = 0€ haben sie mir geschenkt.

So nun bin ich glücklich und werde alles schön an den Sicherungskasten anbauen und das Thema was mich hier fast 10 Tage gekostet hat ist auch beendet!

PS: Ich danke allen für die wirklich tolle Unterstützung, für die Bilder @ Ronny und Hypnotics und allen anderen auch! Ihr seid super!


pn
Gast 
15.07.2008, 12:46
zitieren

Mach mit!

Wenn Dir die Beiträge zum Thread "E-Spiegel sind heil!!" gefallen haben oder Du noch Fragen hast oder Ergänzungen machen möchtest, solltest Du Dich gleich bei uns anmelden:



Registrierte Mitglieder genießen die folgenden Vorteile:
✔ kostenlose Mitgliedschaft
keine Werbung
✔ direkter Austausch mit Gleichgesinnten
✔ neue Fragen stellen oder Diskussionen starten
✔ schnelle Hilfe bei Problemen
✔ Bilder und Videos hochladen
✔ und vieles mehr...


Neuen Thread eröffnenNeue Antwort erstellen
<1
Ähnliche BeiträgeRe:
Letzter Beitrag
Was sind das für Seiten Spiegel? EJ2
Hab mal ne Fragen, was für Spiegel sind das...
[Civic 92-95]von _DeL_sOl_
2
378
11.06.2008, 11:01
Vtec-Power
 Sind das Original Porsche Spiegel? Aus Carbon?
Oder sind die bezogen? Hier...
[Auto]von mgutt
1
323
06.07.2011, 11:54
mgutt
 für welchen civic sind diese spiegel????
Also sie sind auf jedenfall von einen 4 türigen civic. Hab sie auch schon mal an einen gesehen. Hier mal paar bilder. sind fast wie die vom ej9 bzw 6. nur die sind vorne spitz und nicht rund wie beim ej...
Seite 2 [Civic 96-00]von Black EJ6
12
502
27.03.2010, 07:34
civic26
Normal, dass M3-look Spiegel unterschiedlich steil sind?
rechter ist schräger als linker Rückspiegel!... ist das normal?...
Seite 2 [Civic 96-00]von Jules85
10
450
29.04.2010, 08:56
Jules85
Johannes Heil in Erfurt/Thüringen 27.12.08 wer ist dabei???
Hallo, habe gedacht ich stelle mal ne feine Party vor die von paar freunden aus Erfurt organisiert wird Vieleicht sieht man sich ja ????????? Einfach...
Seite 2 [Events & Treffen]von Joshivinyljunky
12
2.187
25.12.2008, 22:25
Joshivinyljunky
 Faschos, Neonazis, Arschgeigen... Heil Hitler!
Muahaha das Video ist zu geil: http://www.youtube.com/watch?v=7eY9R8i3lhQ Könnte glatt von Switch sein....
[Offtopic]von mgutt
1
399
08.12.2008, 13:48
xdelsolx
Sind die E Spiegel beim Concerto gleich wie beim ee9 ?
Wollte meinen ec Civic auf E-SPiegel umrüsten kann jetzt spiegel vom Concerto haben passen die dran ? Und ich brauche npoch den E-Spiegel schalter im A-Brett wer was hat melden !! MFG...
[Civic bis 91]von Honda_x82
0
590
16.06.2007, 09:01
Honda_x82
 Das sind wir
Hallo endlich mal geschafft ein Bilchen zu bekommen, weil gerne lass ich mich auch nicht ablichten und mein Herrchen auch nicht. Also wie beibe kommen aus Wesel. Ich bin 14 und mein Herrchen ist 19. An mir wurde schon viel verändert: M-Spiegel...
[Civic 92-95]von HondaChris90
7
370
30.11.2009, 22:04
HondaChris90
 Was sind das für felgen????
hey...
[Civic 96-00]von Slowrida
7
361
03.08.2011, 21:05
serioussam
 Was sind das für sitze
Hallo habe bei autoscout ne Civic Limousine gefunden. Und der hat die hinteren Sitze umgebaut. Meine Frage was sind das für sitze und wo bekommt man die her. Passen die auch in ein hatchback? MfG...
[Civic bis 91]von civicee9
3
184
24.03.2015, 09:19
civicee9
© 2004 - 2026 www.maxrev.de | Communities | Impressum |