» Civic EG/EJ Frontscheibenleiste

competition clutch stage 3Neuen Thread eröffnenDieser Thread ist gesperrt, du kannst keine Beiträge editieren oder beantworten.stellmotor für scheinwerfer Höhen Regulierung ep/eu faclift scheinwerfer
AutorNachricht
Veteran 

Geschlecht:
Fahrzeug: 02"Civic Type R @ GT3076 & 02"DC5R
Anmeldedatum: 02.01.2010
Beiträge: 812
Wohnort: OB-City
06.05.2015, 16:55
zitieren

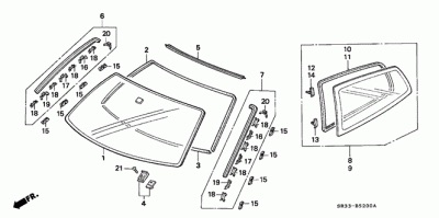
Hallo, hat jemand die Frontscheibenleiste Nr.6 liegen?

 
image.jpg
image.jpg - Angeschaut: 112 mal

pn
Veteran 
Geschlecht:
Fahrzeug: Shuttle RA3, Civic EP2 Sport, VW Lupo GTI
Anmeldedatum: 01.02.2010
Beiträge: 883
Wohnort: Nittendorf
06.05.2015, 17:16
zitieren

Ja ich

pn
Gast 
06.05.2015, 17:16
zitieren

Mach mit!

Wenn Dir die Beiträge zum Thread "Civic EG/EJ Frontscheibenleiste" gefallen haben oder Du noch Fragen hast oder Ergänzungen machen möchtest, solltest Du Dich gleich bei uns anmelden:



Registrierte Mitglieder genießen die folgenden Vorteile:
✔ kostenlose Mitgliedschaft
keine Werbung
✔ direkter Austausch mit Gleichgesinnten
✔ neue Fragen stellen oder Diskussionen starten
✔ schnelle Hilfe bei Problemen
✔ Bilder und Videos hochladen
✔ und vieles mehr...


Neuen Thread eröffnenDieser Thread ist gesperrt, du kannst keine Beiträge editieren oder beantworten.
Ähnliche BeiträgeRe:
Letzter Beitrag
Clips für Frontscheibenleiste & Türleiste(gummi)
Hallo Leute kennt ihr vllt. eine Seite oder einen Händler, bei dem man die "roten" Clips für die Seitenleisten neben der Frontscheibe sich besorgen kann. Außerdem sind mir auch die Clips gebrochen, die in der Leiste sind, den man an die Türe...
[Del Sol]von orhan58
1
239
16.05.2012, 10:12
Hardey
Honda Civic EK9 / Integra HA Bremsscheibe auch von Accord V6 und Civic EP3
Da ich immer noch auf der Suche nach einer guten Bremskombi für die HA für meinen EK9 bin, habe ich mal verglichen und bitte jetzt um aufklärung! Es geht mir darum, dass es für den Integra/EK9 keine ATE Scheiben für die HA gibt. Sorry, wenn es das Thema...
[Performance]von albiknalltuete
5
1.378
18.12.2014, 11:39
albiknalltuete
Honda Civic em2 Facelift Probleme * CIVIC EXPERTEN GESUCHT*
Hallo Leute, habe ein paar Probleme wo ich gerne ein paar Meinungen/Tipps zu hätte :) 1.(nervigstes Problem) Lautes Schleif/Quitsch-Geräusch aus dem Radkasten vorne links, Bremsklötze und Scheiben neu gemacht . Anschließend war es weg nun aber wieder...
[Civic 01-05]von unixtrim
3
772
03.07.2017, 07:22
unixtrim
[Civic 96-00 Interieur] Honda Civic EP3 Sitze in EJ/EK Reihe
Ich habe in meinem Wagen bereits beide Sitze eingebaut, die normalen EP3 Sitze, die es in schwarzem Alcantara /Jersey gibt und die roten Recaros. Vorab sei gesagt, daß diese Dokumentation sich auf die roten Recaros bezieht. Nun einige Anmerkungen...
[Guides]von MaXboT
4
8.868
01.10.2007, 15:45
El Splatty
 [Civic 92-95] Honda Civic USDM Service Manual
Das Service Manual für den Honda Civic. Umfasst auch Schaltpläne, Aufhängung, Bremsanlagen, usw. Leider nur in Englisch, daher ohne EG3, aber auch ohne die Daten top, wenn man selbst was machen möchte. Hinweis: Direktes Verlinken auf den...
[Service Manuals]von MaXboT
0
20.670
26.02.2005, 15:48
MaXboT
 Spoon built Civic SiR EG6 vs Honda Civic Type R EK9
http://youtube.com/watch?v=JyLcJ2HW9g8...
[Civic 92-95]von mgutt
0
5.293
10.03.2007, 06:22
mgutt
Mein Civic mit Fremden Civic Schlüssel zu öffnen!?
Ich wollte es erst selber nicht glauben, aber hier bei mir im Kreis gibt es mehrere Civic Schlüssel die meinen Civic öffnen könne, ich denke mal die Problematik ist bekannt, habt ihr eventuell auch Tipps, wie ich verhindern kann das nachher fast jeder...
Seite 2 [Civic 92-95]von MaRtInW2
12
1.447
19.04.2012, 21:25
JDM!
 Viele fragen betreffend civic fb8 bzw civic limousine
Grüße an alle Hätte da viele fragen zum civic fb8 executive bzw civic limousine die in deutschland angeboten wird (in österreich nicht). Da viele in österreich nicht wussten das es dieses modell überhaupt hier in europa zu kaufen gibt, gibt es jetzt im...
[Civic 2012-2016]von hondaboy1990
6
2.747
15.08.2017, 18:41
Falkman87
Civic 8 und Civic 9 Auspuff aufbau (Remus PowerSound)
Hallo, ich wollte nachfragen ob die Auspuffanlage beim Civic 8 und Civic 9 Hatchback die gleiche ist? Mir wurde der Endschalldämpfer Remus PowerSound für meinen Civic 9 1.8 Liter angeboten. Nach kurzer Recherche habe ich den Endschalldämpfer auf der...
[Civic 2012-2016]von Hohes C
1
757
28.06.2019, 06:04
Hohes C
Passt eine Civic EK Catback unter den Civic EG3
Hallo, würde eine Catback vom EK3 auch in einen EG3...
[Civic 92-95]von Miss-Undercover
0
408
31.01.2012, 08:58
Miss-Undercover
© 2004 - 2026 www.maxrev.de | Communities | Impressum |